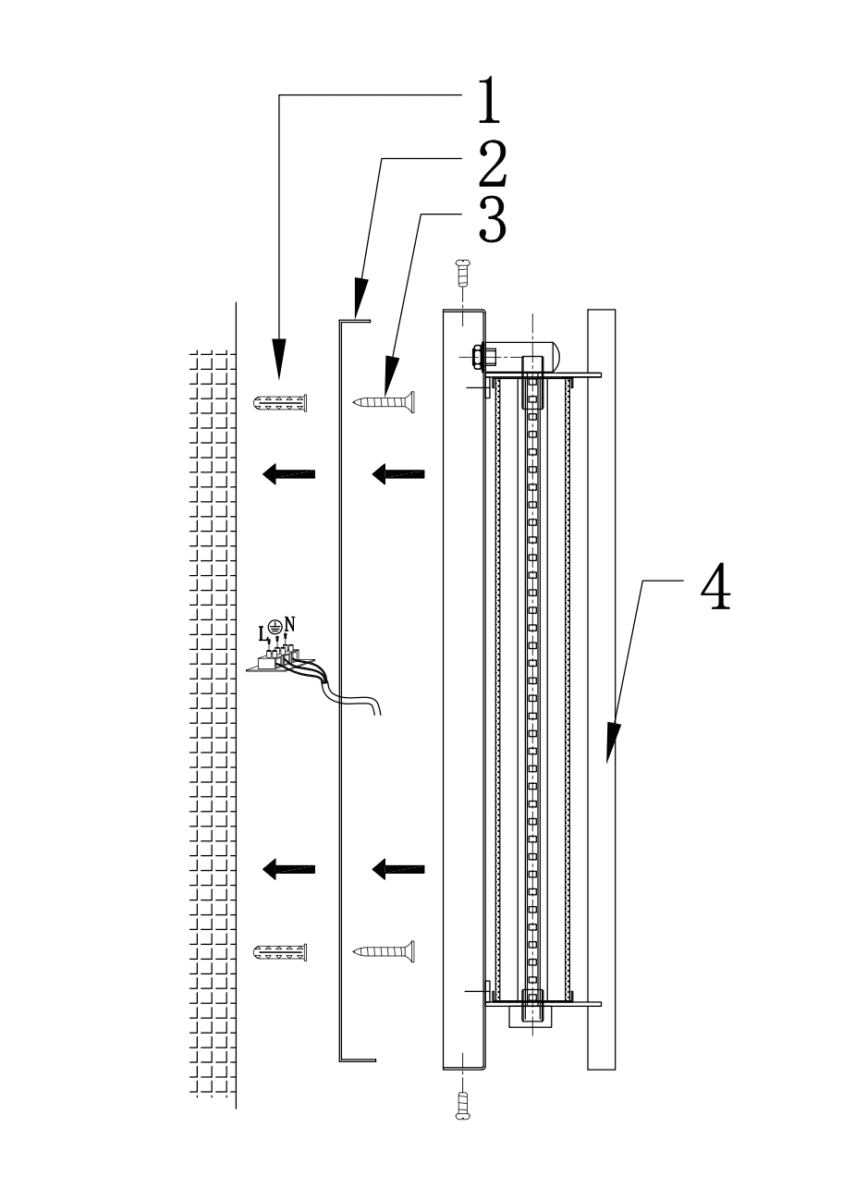
Description
SPECIFICATIONS
- Lamp type: Wall Lamp
- Lamp power: 12
- Bulbs: 1
- Voltage: AC220_240
- Min Height, mm: 360
- Max Height, mm: 360
- Width, mm: 81
- Diameter, mm: 81
- Frame colour: Chrome
- Base material: Aluminum
PLAFOND/SHADE
- Shade Material: Glass
- Mount type: Clip
MORE
- Ceiling mount type: Plank
: present - Barcode: 4251110047157
- IP: IP20
- Luminous Flux, Lm: 330
- Color Temperature, K: 3000
- Scattering Angle, Degree: 120
- Color Rendering Index, RA: 80
- Package volume, m³: 0.004598
- Net weight, kg: 1,50



























Reviews
There are no reviews yet.